










Счетчик электроэнергии однотарифный МАРС-1,0-11-Р4-5(60)-М 1 фаза, 1 тарифный, открытый (1ф, 1тар, din-рейка, мех.ОУ)
Тип сети - однофазная
Класс точности - 1,0
Число тарифов - 1
Частота измерительной сети, Гц - 50
Устойчивость к перепадам напряжений, В - 176 - 265
Номинальное напряжение, В - 230
Устойчивость к воздействию входного напряжения, В - 440
Базовый (максимальный) ток, А - 5 (60)
Стартовый ток (чувствительность) - 0,01
Полная (активная) потребляемая мощность параллельной цепи, не более, ВА (Вт) - 9 (0,8)
Полная потребляемая мощность последовательной цепи, не более, ВА - 0,1
Наличие оптического телеметрического выхода - да
Передаточное число импульсного телеметрического выхода, имп./кВт*ч - 3200
Датчик тока - Шунт
Тип отчетного устройства - Механическое
Количество разрядов (целых + десятых) - 5+1
Наличие стопора обратного хода - да
Степень защиты - IP51
Масса счетчика, не более, кг - 0,45
Диапазон рабочих температур, °С - от -40 до +70
Межповерочный интервал, лет - 16
Средний срок службы, лет - 30
Средняя работа до отказа, часов - 280 000
Назначение:
Для измерения активной энергии в однофазных электрических цепях переменного тока напряжением 230 В и частотой 50 Гц.
Применение:
В электрощитовом оборудовании, в электроустановках промышленных предприятий, жилых, общественных зданий и сооружений.
Корпус счетчика выполнен из не поддерживающего горение пластика.
Клеммная колодка счетчика изготовлена из полибутилентерефталата, который имеет ряд преимуществ перед другими термопластами: хорошие технологические свойства, связанные с высокой скоростью кристаллизации при низких температурах формы и высокой текучестью расплава.
Конструкция:
В качестве датчика тока используется шунт.
Между верхней и нижней частями корпуса имеется уплотнительная резинка, обеспечивающая степень защиты IP51.
Отчетное устройство защищено специальным кожухом от электромагнитных воздействий.
Каждый проводник притягивается к клеммной колодке 2-мя винтами.
Корпус пломбируется 2-мя пломбами: пломба поверителя и пломба энергокомпании.
Доступ к винтам корпуса ограничен крышкой клеммной колодки с пломбой.
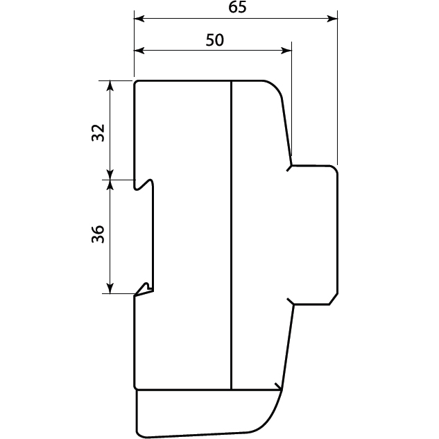
Счетчик имеет 2-х позиционную защелку на DIN-рейку, фиксируемую в обоих положениях.
Счетчик имеет 2 LED индикатора (индикатор наличия питающей сети и индикатор работы).
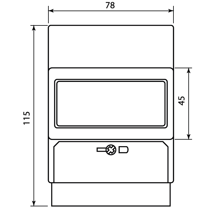
Счетчик имеет один из самых компактных размеров на российском рынке (имеет ширину 4 стандартных модуля).
На правой стороне корпуса наклеена фирменная защитная голограмма TDM ELECTRIC.
Возможные обозначения: SQ1105-0004
Производитель: TDM Electric (ТДМ Электрик)