Артикул:
EEV10-023-10
на складе: 0
Цена: по запросу
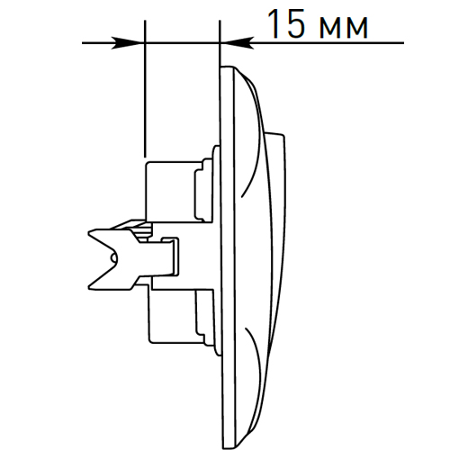
Выключатель двухклавишный скрытой установки серии Лондон.
Похож на двухклавишные (2 клавишные) выключатели Makel Mimoza (Макел Мимоза) белого цвета
Гарантия долговечности — 40 000 циклов (вкл./откл.) согласно IEC 60669-1.
Электробезопасное керамическое основание.
Каркас из металла толщиной 1 мм.
Жесткий металлический суппорт.
Удобное подключение проводников.
Производитель: EKF (ЭКФ)






























